Утепленная шведская плита шаг за шагом. Кому подходит УШП
- Утепленная шведская плита шаг за шагом. Кому подходит УШП
- Шведская плита ТЕХНОНИКОЛЬ. XPS ТЕХНОНИКОЛЬ CARBON ECO 400 SP 100 мм(5,4752м2/0,547520м3)
- Шведская плита своими руками. Технология утепленной шведской плиты на примере фирмы Dorocell
- Утепленная шведская плита под ключ. Стоимость утепленной шведской плиты
- Утепленная шведская плита расчет. Технология фундамента УШП
- Шведская плита недостатки. Шведская плита: недостатки и преимущества
- УШП плита технология. Что такое УШП
Утепленная шведская плита шаг за шагом. Кому подходит УШП
Выбор фундамента — это всегда решение сложного уравнения. Он должен быть надежным, практичным, выдерживать нагрузку от дома, не бояться морозного пучения, не пропускать холод в дом и не выпускать тепло наружу. При этом еще желательно, чтобы строительство было доступным и быстрым. Родоначальник УШП появился в Америке в начале XX века. Так появился малозаглубленный плитный фундамент. Чуть позже модель была доработана скандинавскими строителями с учетом непростого климата, и плитный фундамент стали возводить по слою утеплителя, который не только защищает от промерзания, но и не дает уйти теплу через конструкцию фундамента. Еще одно преимущество УШП в том, что в него уже интегрирована система теплого пола и инженерные коммуникации. Сам же фундамент представляет собой готовый черновой пол первого этажа, по которому на этапе внутренней отделки останется только смонтировать финишное покрытие.
УШП вполне можно назвать универсальной технологией: она подходит для слабонесущих грунтов, например, суглинков и глины, служит надежным основанием для наиболее распространенных типов домов, включая каркасные и брусовые, которые стали популярны в наше время. Ограничением могут служить только влагонасыщенные грунты с высоким уровнем грунтовых вод. Но на таких участках стройка в принципе превращается в затратный процесс.
Утепленная шведская плита не предполагает наличия цокольного этажа и подвального помещения ввиду особенностей своей конструкции – монолитная плита.
В этом случае придется выбрать одну из модификаций ленточного фундамента.
Шведская плита ТЕХНОНИКОЛЬ. XPS ТЕХНОНИКОЛЬ CARBON ECO 400 SP 100 мм(5,4752м2/0,547520м3)
Описание:
Фундамент по типу «утепленная шведская плита» объединяет в себе устройство утепленной монолитной фундаментной плиты и сеть коммуникаций, включая систему подогрева пола. Комплексный подход позволяет получить в короткие сроки утепленное основание со встроенными инженерными системами и ровный пол, готовый для укладки плитки, ламината или другого покрытия.
В качестве утеплителя в конструкции фундамента используется экструзионный пенополистирол ТЕХНОНИКОЛЬ CARBON ECO SP , который не впитывает воду, не набухает и не дает усадки, химически стоек и не подвержен гниению. Высокая прочность на сжатие как при 10%, так и при 2% линейной деформации позволяет применять данный материал в нагружаемых конструкциях и обеспечивать стабильность толщины под нагрузкой.
XPS ТЕХНОНИКОЛЬ CARBON ECO SP — единственный в России специализированный продукт для организации фундамента по типу «утепленная шведская плита». Высокая прочность на сжатие и низкий показатель теплопроводности обуславливают высокую надежность материала при создании подобных фундаментов.
При производстве XPS ТЕХНОНИКОЛЬ CARBON ECO SP используются наноразмерные частицы углерода. Наноуглерод снижает теплопроводность материала и повышает его прочность. Благодаря насыщению наноуглеродом плиты XPS ТЕХНОНИКОЛЬ CARBON ECO приобретают темно-серебристый оттенок и обладают высокими показателями энергоэффективности.
Технические характеристики:
Прочность на сжатие при 10% линейной деформации: не менее 400 кПа
Теплопроводность при (25±5)°С: не боле 0,033 Вт/(м*К)
Теплопроводность в условиях эксплуатации «А и «Б»: не более 0,034 Вт/(м*К)
Водопоглощение: не более 0,13 %
Коэффициент паропроницаемости: 0,014 мг/(м.ч.Па)
Группа горючести: Г4
Температура эксплуатации: от -70 до +75°С
Размер: 2360х580х100 мм
Количество в упаковке: 4 плиты, 0,548 м³, 5,48 м²
- Рекомендуется к использованию в малоэтажном строительстве без обустройства подвала.
- Широко используется при строительстве каркасных домов, домов из газобетона, домов из бруса с последующей внутренней отделкой и любых других типов легких домов.
- Удобен для участков застройки с типом грунта: песок, супесь, суглинок, глина, водонасыщенные и слабонесущие грунты.
Шведская плита своими руками. Технология утепленной шведской плиты на примере фирмы Dorocell
Около 10 лет назад первые отечественные энтузиасты — застройщики пользовались типовыми проектами именно этой компании. По определению Dorocell, оптимальным энергоэффективным фундаментом для малоэтажного домостроения является высококачественная монолитная бетонная плита с ребрами жесткости, внешней термоизоляцией и встроенным подогревом.

Схема технологии устройства утеплённой шведской плиты УШП с использованием материалов Технониколь
Термоизоляция, представляя из себя своеобразное «корыто» для заливки бетона, служит естественной несъемной опалубкой.
Принципиальная схема УШП в разрезе
Приведем детальный обзор фундамента утепленной шведской плиты:
- Опалубка из полистирола ПСБ-С собирается на утрамбованной песчано-щебневой подсыпке. На дне постели засыпки выполнены уклоны и установлена дренажная труба.
- Опалубка высотой 400 мм состоит из плит толщиной 100 мм и образует по периметру прямоугольные пазы сечением 400×200 для образования ребер жесткости и постель для заливки основной плиты толщиной 100 мм.
- Армирование ребер выполняется в двух поясах профилем переменного сечения диаметром 8 — 12 мм. Армирование плиты пола осуществляется с помощью сварной сетки 150×150 мм.
- В плиту пола замуровываются трубопроводы системы отопления. Армирование плиты пола осуществляется с помощью сварной сетки 150×150 мм, укладываемой поверх труб теплого пола.
- Кроме теплого пола бетоном заливаются и другие коммуникации — водопровод, канализация, электрическая разводка по комнатам.
- Утепление отмостки осуществляется по периметру фундамента 70-миллиметровыми плитами ПСБ-С, примыкающими снаружи к полистирольной опалубке на глубине ее контакта с подсыпкой.

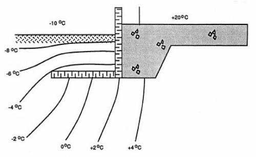
Юбка теплоизоляции вокруг фундаментной плиты предохраняет от промерзания
Описанная схема соответствует нагрузке, образуемой двухэтажным домом с несущими стенами из ячеистого бетона, а также климатическим условиям с индексом мороза 4000 — 8000. Увеличение нагрузки требует увеличения сечения ребер жесткости, а более суровый температурный режим — добавления одного или двух дополнительных слоев утеплителя.
Утепленная шведская плита под ключ. Стоимость утепленной шведской плиты
Расчет типовых популярных размеров, включает в себя: материалы, доставка, работы по устройству, уборка мусора. В зависимости от площади фундамента изменяется и цена строительства под ключ в Москве. Цена УШП в нашей компании от 10000 рублей за метр квадратный до 13000 рублей за кв/м.
Зальём УШП под ключ- качественно и надежно!
Построим для Вас правильный фундамент плита УШП с учетом всех особенностей: для дома, для коттеджа, бани, гаража, промышленных объектов и других строений. Строим по всей Московской области и Москве.
- Используем только марочный бетон марки не ниже М200 проверенных поставщиков;
- Арматура для плиты УШП используется 12, 14 диаметра (расчет зависит от Вашего проекта и нагрузок);
- Толщина плиты возможна 200мм, 300мм, 400мм и другие размеры;
- Опалубка собирается из досок или используется промышленная;
- Ориентировочная цена от 9000 рублей за метр квадратный;
- Чтобы рассчитать стоимость строительства плиты УШП в Москве звоните нам или оставляйте заявку.

Все большее количество индивидуальных застройщиков, в последние годы, обращают внимание на фундаменты из плит. Суть метода в том, что основание для здания представляет собой одну единую плиту, на которую должно опираться все строение. Обращайтесь в нашу компанию, мы выполним для Вас возведение фундамента УШП на Вашем участке для строительства дома. Стоимость устройства такого типа фундамента в Москве и области стоит в нашей компании от 10000 рублей/м2.
Почему выбирают утепленную шведскую плиту?
- Экономия при возведении фундамента и пола первого этажа;
- Энергоэффективный вид основания, позволяет экономить на отоплении уже на 3-й год!
- Надежность - залитый профессионалами такой вид основания считается надежным и долговечным;
- Универсальность, подходит к большинству типов грунта нашей области.

Основание такого типа без всяких проблем адаптируется к подвижкам грунта, что очень хорошо сказывается на его репутации. В России много местностей с пучинистым грунтом, и устойчивость к подвижной земле — большой плюс.
Краткое описание, технология возведения
Одна из последних разработок в сфере плиточных оснований — утепленная шведская плита. Это разновидность монолитной фундаментной плиты, её делают, применяя теплоизоляцию. Ещё одна особенность новинки — уже готовые коммуникации, содержащиеся внутри плит. Там же находится и трубопровод, предназначенный для подогревания пола. Сегодня в России такие трубы монтируют пока ещё редко. Рынок с опаской относится к подобным новациям, к тому же, шведские плиты стоят дороже привычных нашим строителям и застройщикам. Однако новинка оправдывает свою стоимость преимуществами.
Для начала, фундамент утепленная шведская плита изготавливается гораздо быстрее, особенно, если сравнить со свайными или ленточными фундаментами. Далее. Строительство будет относительно простым занятием, никакого особенно сложного оборудования не нужно. И главное — при монтаже таких плит не потребуется заливать стяжки и выравнивать пол. Фундамент будет одновременно и полом для первого этажа. Вам достаточно будет лишь постелить покрытие, и можно будет вводить дом в эксплуатацию.
Система обладает втрое большей теплопроводностью, чем обычные плиты, а это значит, что вы можете втрое более эффективно использовать систему тёплого пола.
Итак, рассмотрим чуть подробнее технологию изготовления фундамента, по технологии утеплённая шведская плита. Для начала, роется небольшой котлован. Его размеры должны быть чуть большими, нежели размеры самого дома. Затем котлован заполняют песком. На подушку из песка лучше всего будет уложить слой геотекстиля. Следующий этап. Уложите все нужные системы дренажа и трубопроводы поверх песчаного слоя. Далее следует пара пенопластовых слоёв, их разделяет гидроизолятор.
Теперь настало время смонтировать систему тёплого пола. Лучше всего будет надуть её воздухом, дабы она не смялась, когда будет уложен тяжёлый раствор. Поверх следует поместить сетку и арматуру. Наконец, всё заливается бетоном, он выравнивается. После того как раствор застынет, нужно будет пройтись шлифовальной машинкой по основе пола.
Таким образом, с помощью технологии утепленная шведская плита вы получаете тёплый и прочный пол за минимальное время.

Установим бесплатно!
При заключении договора на строительство фундамента до конца июля 2023, мы бесплатно установим Вам:
Бесплатный монтаж канализации
Проведем трубы водоснабжения
Бесплатная прокладка электричества
Договор
Можем заключить официальный договор, Вы защищены юридически.
Выезд бесплатно
Без оплаты выезжаем на замер и консультацию если это потребуется!
10 лет опыта
Опытные рабочие и сформированные бригады выполнят любую задачу!
Работаем 24/7
Без праздников и выходных, оперативно выполняем поставленные задачи.
Честные цены!
Работаем без предоплаты и сумма в процессе работ не изменяется.
Утепленная шведская плита расчет. Технология фундамента УШП
Технология возведения фундамента УШП настолько проста, что дает возможность осуществить работы своими руками. УШП фундамент- обозначает утепленная шведская плита или schwedenplatte. Его ошибочно относят к плитным фундаментам. На самом же деле, УШП фундамент- это незаглубленный ленточный фундамент, совмещенный с полами по грунту с одновременным бетонированием в несъемной опалубке из пенополистерола и с системой напольного отопления.
7 этапов технологии возведения фундамента УШП своими руками:
1. Расчет УШП
Расчет УШП подразумевает составление плана плиты. Для этого необходимо:
-рассчитать нагрузки на фундамент по плану дома
Для УШП нагрузки стоит рассчитывать на каждое ребро.
Итак, начнем расчет:
- Нагрузка от стены= ширина*длина*высота*плотность материала
- Нагрузка от перекрытия= площадь перекрытия*плотность перекрытия (если все перекрытие передает нагрузку на стену, например, центральная стена)
=1/2площади перекрытия* плотность перекрытия (если на стену опирается половина перекрытия)
- Нагрузка от крыши= площадь крыши*вес крыши (вес стропильной системы+ вес обрешетки+ вес утеплителя+ вес кровельного покрытия).
- Снеговая нагрузка= вес снегового покрытия для Вашего региона * коэффициент перехода от веса снегового покрова земли к снеговой нагрузке на покрытие для угла крыши в 35 градусов * площадь крыши
- Ветровая нагрузка= Нормативное значение ветровой нагрузки * Коэффициент, учитывающий изменение ветрового давления по высоте * площадь
- Суммируем все нагрузки и получаем нагрузку на всю длину в тоннах. Полученное число делим на длину ребра, чтобы получить нагрузку на метр длины. Далее, умножив на 9.81 получаем уже не т/м, а кН/м.


Шведская плита недостатки. Шведская плита: недостатки и преимущества
В мире технологий аббревиатура УШП знакома многим, это утепленная шведская плита. Несмотря на недавнее появление, за столь короткий срок обрела большую популярность. Это касается европейских стран, на территории СНГ технология только набирает обороты. Главная причина- недостаточная информированность населения о преимуществах. Но, несмотря на это, строительные корпорации взяли УШП за основу и успешно применяют при строительстве таких зданий, как коттедж, баня. США являются родоначальником и первоисточником. Следом УШП начали активно применять в Скандинавии, от чего и пошла молва о шведской технологии, хотя это не так. Впервые в Швеции по технологии была возведена баня на УШП. Часто возводят баньки на глине с помывочной и туалетом с применением отдельных технологий из Швеции и Финляндии.
Существуют некоторые модификации сооружения, но сама основа остаётся неизменной: армированная плита монолитного типа теплоизолированная, внутри которой проложены инженерные коммуникации, водопровод, подогрев пола для первого этажа.
Для каких целей сооружается шведская плита
Главная цель разработки технологии заключается в снижении себестоимости при строительстве. Такое стремление присуще каждому, ведь от этого зависит собственная прибыль. Но, иногда люди в погоне за деньгами забывают о качестве.
Второй момент: освобождение от привязанности к не возобновляемым источникам энергии, нефти, газа, торфа.
Классический вариант шведской плиты
УШП фундамент:
- земляной пласт;
- щебень средней или крупной фракции;
- геотекстиль;
- шар песка;
- пароизоляция;
- пенополистирол;
- армирующая сетка;
- система «Тёплый пол»;
- бетон;
- при необходимости повторная гидроизоляция.
Минусы технологии
Несмотря на плюсы есть и негативные стороны. Итак, недостатки УШП, к таковым относятся:
- безопасность. Как показывает практика, возводят до трёх этажей. Ведь для каждого из нас безопасность превыше. Это однозначно минусы УШП;
- полное отсутствие доступа к коммуникациям: коммуникации, водопроводы внутри армированного монолитного строения. Повреждение способно создать большие проблемы в плане физического доступа. Разрушение основы возможно, но дальнейшая пригодность не гарантирована. Часто говорят, что просела плита УШП;
- точность расчётов: Малейшие неточности повлекут непригодность строения, приведут к появлению трещин;
- цоколь: те, кто выбирает УШП, может забыть о возможности сооружения подвального, полуподвального, цокольного этажа;
- высотность: Допускается возведение трёх, но при условии, что вес не будет превышать двух этажей вместе взятых. Не рекомендовано возводить УШП на склоне;
Положительные стороны использования шведской плиты
- Разнообразие грунтовых основ. Существуют и ограничения по видам. Существует такой обманный ход: если планируете построить утепленную шведскую плиту на пучинистой основе, необходимо предварительно снять пласт грунта и засыпать песком средней зернистости и уравнять поверхность. Только тогда строить;
- экономия тепла: утеплитель высшего класса экономит тепловую энергию, а значит и денежных средств в зимний период;
- основание – пол: УШП фундамент уже по факту проекция пола, на него стелят покрытие из материалов;
- минимальное количество работников: для сооружения строения нет необходимости использовать большие строительные бригады и привлекать специальную технику. Ведь за каждый вызов нужно платить.
Как видим, фундамент УШП плюсы и минусы, характеристики совпадают по количеству. В каждой конкретной ситуации подход индивидуальный. Характерные для шведской утепленной плиты недостатки — это преимущества для ленточного типа фундаментов.
Отличия УШП от иных основ:
- при сооружении используется большое количество утеплителя. Укладывается не на глубину промерзания, а только на глубину основы. Записывают это в минусы использования панели;
- пенополистирол прокладывается под плитой, а также на отмостках.
УШП плита технология. Что такое УШП
Утепленная шведская плита, сокращенно УШП, представляет собой монолитный фундамент малого заглубления, утепленный пенополистиролом.
Несмотря на название «утепленная шведская плита» или «schwedenplatte» история появления технологии берет начало Америке 30-х годов прошлого века, когда в период Великой депрессии инженеры разработали упрощенный вариант фундамента для частного домостроения в виде бетонной плиты, отлитой на небольшой глубине или вообще поверх грунта.
Приставка «шведская» добавилась после того, как скандинавские страны — Швеция и Финляндия — позаимствовали американскую технологию и в свойственной им манере рационализаторства существенно ее улучшили. В шведско-финском варианте фундамент представляет собой комплексную систему из утепленного основания, встроенных коммуникаций и чернового пола.
УШП в России
Российский опыт применения плиты УШП в качестве фундамента насчитывает не более десяти лет. По одной из версий скандинавская технология пришла к нам в страну через строительный форум, когда пользователь из Прибалтики рассказал про необычный фундамент, который ему обустроили шведские строители.
Сейчас УШП все чаще применяется при строительстве индивидуальных домов и деревянных домов в частности. Многие строительные фирмы добавили устройство этого типа фундамента в перечень оказываемых услуг.
Корпорация TECHNONICOL активно продвигает УШП на российском рынке. Специально для данной технологии в компании разработали особый тип экструзионного пенополистирола, который используется в системе TECHNONICOL CARBON ECO SP. Это единственный в России специализированном продукте для организации фундамента по типу «утепленная шведская плита».
С точки зрения географии применение УШП не имеет никаких климатических ограничений. Дома на такой плите возводят и успешно эксплуатируют не только в средней полосе России и на юге, но даже и за полярным кругом, в районах вечной мерзлоты.