Железная печка для бани. Отличия печей из металла для бани и сауны
- Железная печка для бани. Отличия печей из металла для бани и сауны
- Железная печка для бани обложенная кирпичом. СНиП 21-01-97. ПОЖАРНАЯ БЕЗОПАСНОСТЬ ЗДАНИЙ И СООРУЖЕНИЙ. Файл для скачивания
- Железная печка для бани своими руками. Печи для русской бани, сделанные своими руками
- Железная печка для бани с баком для воды своими руками из металла чертежи. Самодельные печи для русской бани
- Железная печка для бани с баком для воды своими руками. Металлическая печь-калорифер, подходит ли она для бани?
- Железная печка для бани своими руками чертежи. Чертежи печи для бани из металла
- Видео железная печь в баню
Железная печка для бани. Отличия печей из металла для бани и сауны
Парилки в бане и сауне значительно отличаются между собой. Сауна сопровождается высокой температурой – свыше 85 ºС. Такие показатели делают невозможным сильно увеличивать еще и влажность, так как неминуемо получение ожогов кожи. При этом веник в таких условиях осыпается всего за 5 минут. Поэтому влажность доводят до 5-15 %. Русская баня отличается температурой в районе 55-65 ºС, что дает возможность поднять относительную влажность до 50-60%.
Для создания тех или иных условий в парной используются разные печи, а также применяются разные подходы к их установке. Если обустраивается сауна, то понадобится соблюсти максимальную площадь контакта корпуса печи с воздухом и обеспечить быструю циркуляцию воздушных потоков вдоль стенок.

Все сводится к тому, чтобы нагреть воздух в парилке как можно скорее. Небольшая открытая каменка, располагаясь над топкой, способна прогреть камни до 200-250 ºС. Она дает возможность получить немного пара – как правило, для сауны этого достаточно, потому что нужно добиться всего 15 % влажности.
В русской бане микроклимат создается иной – достигаются небольшие температуры, и вырабатывается много пара. При этом он должен состоять из очень мелких капелек, разогретых до 130-150 ºС – такой пар называют «сухим». Подобный микроклимат придает телу легкости и сил. «Сухой» пар можно получить лишь раскалив камни до значений более 500 ºС. Для достижения таких показателей камни складывают в топку, то есть в закрытую каменку.
Железная печка для бани обложенная кирпичом. СНиП 21-01-97. ПОЖАРНАЯ БЕЗОПАСНОСТЬ ЗДАНИЙ И СООРУЖЕНИЙ. Файл для скачивания

Установка банной печи в кирпичном футляре
Хотя кирпич нагревается не так сильно, как металл, нельзя укладывать его вплотную к деревянным стенам бани или на незащищенные доски пола. Также необходимо оставлять зазор между стенками печки и кирпичом шириной от 5 до 10 см. При отсутствии зазора печь будет перегреваться и, как следствие, срок ее службы заметно уменьшится. Если расстояние сделать больше 10 см, обогрев парной замедлится, увеличится расход топлива.

Сооружая экран из кирпича, помните о необходимых зазорах
Основание под печь и кирпичный экран должно быть общим, иначе неравномерное распределение нагрузки спровоцирует проседание отдельных элементов. Если при установке печи жаростойкая основа выполнялась с запасом по площади, дополнительная подготовка для кирпичной кладки не требуется. Если же такого запаса нет, и края площадки выступают из-под корпуса печи не больше, чем на 2-3 см, необходимо отсоединить трубу дымохода, демонтировать печь, тщательно и по всем правилам подготовить новое основание.

Основание под печку и экран
Для обкладки печей обычно используют полнотелый красный кирпич, отличающийся жаростойкостью и долговечностью. Подходит для этих целей и шамотный кирпич, но его труднее обрабатывать, да и стоит он дороже. Есть керамический тугоплавкий кирпич с декоративной поверхностью, который имеет те же свойства, что и обычный, но выглядит гораздо эффектнее. С его помощью можно не только улучшить теплообмен и защититься от жесткого излучения, но и сделать печку украшением парной.

Железная печка для бани своими руками. Печи для русской бани, сделанные своими руками
Самое главное при изготавливании по чертежам металлических печей для бани своими руками – это учесть, что невозможно при разогретых металлических стенках поддерживать нужную температуру в пределах 60-65 ºС (прочитайте: “Чертежи банной печи из металла – строим печь своими руками”). Обязательно придется перетапливать, что сопровождается излучением сильных ИК волн, при котором довольно тяжело находиться рядом с печью.
Решить эту проблему можно двумя методами:
- Произвести футеровку топки . Процесс заключается в обкладывании топки изнутри огнеупорным кирпичом. Достаточно укладки на ребро, при этом толщина футеровки составит 6 см, хотя встречается и узкий шамот, толщиной 3 см. Как бы то ни было, нагрев стальных стенок является незначительным, больше всего прогревается каменка. Поэтому сразу следует спроектировать топку, чтобы она была увеличенных размеров, потому как большая часть ее объема отводится на футеровку. Недостатком такого способа считается то, что в результате вырабатывается горячий дым, что понижает пожаробезопасность. Лучше всего провести его охлаждение путем установки бака или каменки на трубу. Немного сложнее – установить отопительный щиток, проходя через который, дым остывает до 80-120 ºС.
- Установить кирпичный экран вокруг печи из железа для бани. Его собирают из керамического кирпича, при этом в стенке оставляют окошки для монтирования дверок, которые позволят в будущем контролировать уровень прогрева воздуха. Можно сделать вывод, что такой вариант является лучшим из-за возможности регулирования температуры, однако он менее практичен, так как задняя стенка очень сильно перегревается, поэтому приходится в конструкцию включать жаропрочную сталь. В таком случае получается, что для более продолжительного срока службы железной банной печи, нужно выбирать довольно толстый металл. Его, как показывает практика, лучше устанавливать в верхней и нижней части топки.
Железная печка для бани с баком для воды своими руками из металла чертежи. Самодельные печи для русской бани
Что еще надо иметь ввиду при конструировании печи для режима русской парной? То, что имея нагретые металлические стенки удержать температуру в пределах требуемых 60-65°C нереально. Обязательно перетопите. При этом от стенок печи идет жесткое ИК излучение и рядом находится тяжело. Проблема решается двумя способами:
- Футеровкой топки. Внутри топка обкладывается жаростойким кирпичом (шамотным на шамотный раствор). Положить его можно на ребро, тогда толщина футеровки 6 см, а можно найти узкий шамот с ребром 3 см. В любом случае металлические стенки греются незначительно, основная энергия направлена на обогрев каменки. В этом случае надо сразу проектировать топку увеличенных размеров, учитывая, что значительный объем ее занят футеровкой. Минус этого варианта — очень высокая температура дыма, а следовательно — высокая пожарная опасность. Выход — отобрать у дыма большую часть энергии. Самый простой вариант — каменка или бак для воды на трубе. Вариант сложнее — отопительный щиток, в который подается дым непосредственно из печи, а остыв в лабиринте щитка, на выходе он имеет не более 80-120°C.

Футеровка — обложить топку изнутри жаропрочным кирпичом
- Кирпичный экран или саркофаг вокруг металлической печи. Экран складывают из обычного керамического кирпича, в стенке делают окошки или устанавливают дверки чтобы была возможность регулировать степень нагрева воздуха в помещении. Как видим, для поддержания температуры в заданном режиме этот вариант более удобен. Но с практической точки зрения он хуже. Дело в том, что за экраном стенки топки перегреваются (конвекции почти нет и они не остывают). В результате, через некоторое время металл перегорает. Выход — ставить жаропрочную сталь или конструкционную, но большой толщины. В данном случае, чем больше будет толщина металла, тем дольше будет служить печь. По статистике самая проблемная зона — верхняя и задняя поверхность топки. Вот тут постарайтесь поставить самый толстый металл, который найдете.

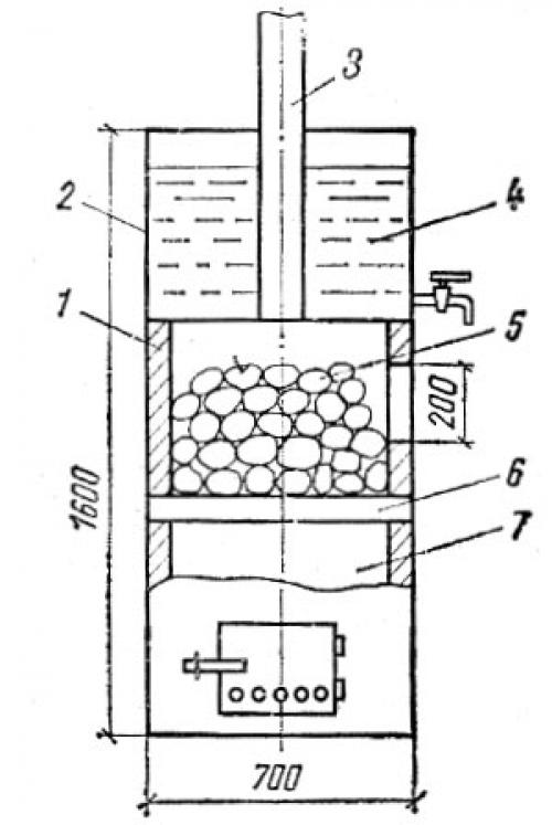
Железная печка для бани с баком для воды своими руками. Металлическая печь-калорифер, подходит ли она для бани?
Металлическая печь калорифер
Такая конструкция печи наиболее простая. Для работы понадобятся листы стали толщиной не менее 5 мм, сварочный аппарат и болгарка (или газовый резак), трубы для подвода и отвод воды, огнеупорные кирпичи, раствор печной глины, камни, трубы для дымохода, кран, печные дверки с задвижками и петлями, металлический профиль для монтажа опоры печки.
Образец печи калорифер
Сама конструкция состоит из бака для воды с подсоединенными к нему трубами и краном. Бак нагревается от задней стенки печи, внутреннее пространство которой в свою очередь зонально распределено на топку и каменку открытого типа. Дымовые газы утилизируются через дымоход, выходящий из топки через каменку и стены бани.
В первую очередь необходимо вырезать из листов стали донышко и боковые стенки будущей печки и соединить их сваркой. Внутрь печи привариваем уголки – они будут поддерживать лист металла, на который уложим камни.
Делаем каркас для печи
На передней стенке вырезаем прямоугольное отверстие под дверцу, и из вырезанного прямоугольника делаем дверцу. По периметру можно обварить ее полосками стали для большей плотности прилегания. В нижней части дверцы или передней стенки топливника высверливаем несколько отверстий для доступа воздуха внутрь печи. Сваркой крепим петли дверные и петлю под задвижку.
Делаем дверцу
Внутреннее пространство печи обкладываем шамотным кирпичом
Чтобы сделать дымоход, подготовим патрубок и проделаем отверстие в листе металла, на котором будет каменка. Привариваем патрубок к стальному листу.
Металлическая печь для бани
Приступаем к монтажу бака для воды. Он состоит из трех стенок и донышка, герметично сваренных между собой и задней стенкой печи. К одной из боковых стенок бака привариваем подводящую и отводящую трубы для воды. Затем привариваем кран в нижней части бака. Всю конструкцию устанавливаем на каркас из стальных профилей или на кирпичное основание высотой 20-30 см. Металлические части печи покрываем огнеупорной краской. Наверх выкладываем камни (талькохлорит, порфирит, базальты и т.п.) размером от 5 до 12 см. Монтируем дымоход и дымовую трубу, наливаем в бак воду, накрываем его крышкой и производим розжиг готовой печи, проверяя конструкцию на наличие тяги и отсутствие дыма в помещении.
Чтобы модернизировать буржуйку для бани, можно оснастить ее камерой-зольником с колосниковой решеткой и ящиком для сбора пепла. Это значительно упростит чистку печи, а дверца поддувала поможет лучше регулировать тягу, а соответственно температуру и скорость сгорания топлива. Для той же цели (регулирование температуры нагрева печи), а также для уменьшения потерь тепла через дымоход, его оснащают задвижкой. Она может быть шиберного типа или любого другого.
Железная печка для бани своими руками чертежи. Чертежи печи для бани из металла
Что самое главное в бане — конечно же печь. Существует множество готовых решений печей, которые можно купить в магазине, но в этой статье мы рассмотрим чертежи для самостоятельного изготовления печей из металла.

Печь для бани из металла своими руками
Этапы изготовления
Чертежей печи для бани достаточно много и каждый из них имеет свою функциональность. Начнем с топки для печи.
- Топка — первое что нужно сделать. Размеры топки вы определяете самостоятельно, исходя из размеров вашей парной.
Главное помнить, что ширина и высота топки должны быть одинаковы. - На некоторых чертежах печей из металла вы можете увидеть готовые решения, которые можно купить в магазине ,а не вырезать и варить самостоятельно. Например, дверцы, решетки, ручки и так далее. Вы сэкономите массу времени, если приобретете их в магазине.
- Почти на всех чертежах топка состоит из 2 частей. В одной части горят дрова, а другая предназначена для сбора золы и также выполняет функцию поддувала.
- Если на верхнюю часть топки будут ложиться камни, то ее следует сделать из решетки. Можно сделать декоративную решетку для красоты.

Важно! Если Вы решили сварить печь для бани самостоятельно — отнеситесь с особым вниманием к толщине металла. Металл должен быть не менее 5 мм, чтобы при нагревании его не повело.

Подробный чертеж печи для бани из металла
Бак для воды и место для камней
- Сразу над топкой делается емкость для засыпки камней.
- На некоторых чертежах емкость является открытой и вода поливается на камни сверху.
- На других чертежах печей можно встретить емкость для камней с дверцей, которую необходимо открывать для полива воды на камни. Так камни быстрее прогреваются в закрытой емкости и дольше сохраняют тепло.
- В каменке используются специальные камни для бани. Можно конечно использовать обычные речные, но эффект будет не тот.
- Над каменкой устанавливается бак с водой. Через него также должна проходить труба, которая будет подогревать воду.
- В бак с водой можно вмонтировать кран для набора горячей воды.
Также не забудьте про то, что через каменку должен проходить дымоход.

Печь с открытой каменкой

Чертеж печи из металла с каменкой и баком для воды
Трубу также необходимо изготавливать из трубы с большой толщиной металла. Так она не сразу прогорит и будет служить вам долго.

Печь для бани с трубой, проходящей через каменку и водяной бак
Дымоход
Также на чертеже печи для бани необходимо указать место, где дымоход будет проходить через крышу. Это место необходимо тщательно изолировать, так как воздух, проходящий через трубу очень горячий.

Дымоход для бани
Для изоляции дымохода от крыши лучше приобрести готовые решения, которые продаются в специализированных магазинах для бани.
Таким образом сделать печь для бани по чертежам самому не так уж и сложно. К тому же в магазинах продается много готовых решений (решетки, дверцы, баки, трубы, дымоходы, изоляция дымохода), применяя которые соорудить печь будет еще проще.

